Генерируем ваш успех!
О компании
Компания Иммертехник занимается решением задач в сфере обеспечения промышленных предприятий сжатым воздухом, а также азотом и кислородом — от подбора оборудования и осуществления поставки до последующего гарантийного обслуживания, технической поддержки, послегарантийного технического обслуживания, поставки запасных частей.
Наши преимущества
Предлагаемые нами решения строятся, на основе использования современного, качественного и надежного оборудования - воздушных компрессоров, генераторов азота и кислорода зарубежных фирм-производителей, чью продукцию мы представляем в Российской Федерации. Подробнее
Как правило, сжатый воздух, вырабатываемый компрессором, имеет 100-процентную относительную влажность. Для снижения содержания в сжатом воздухе вапоризованной влаги, используются осушители сжатого воздуха.
Датчики (измерители) температуры точки росы служат для измерения содержания в газе вапоризованной (парообразной) влаги. Измерители температуры точки росы показывает температуру, при которой эта влага начнет конденсироваться - т.е., температуру точки росы.
Все адсорбционные осушители, предлагаемые нашей компанией, могут быть оснащены датчиком ТТР, подключаемым к системе управления осушителя. Такой датчик не только позволяет в реальном времени отображать температуру точки росы на дисплее системы управления осушителя, но и участвует в управлении им: переход адсорбера осушителя в фазу адсорбции инициируется системой управления только при росте температуры точки росы до запрограммированного уровня.
Однако, иногда возникает необходимость дополнительно контролировать температуру точки росы сжатого воздуха и азота. Для этого, используются автономные, не связанные с осушителем измерители. Наш немецкий партнер - компания ZANDER - предлагает 2 модели измерителей температуры точки росы, предназначенные для измерения влажности сжатого воздуха и азота.
Оба наши датчика работают по импендансной технологии. Используются высококачественные измерительные элементы ZHM100, он же Easidew Transmitter (Cermet II) фирмы Michell Instruments, британского производства. Чувствительные элементы измерительных элементов защищены кожухом из синтерированной нержавеющей стали. Оба снабжены большим светодиодным дисплеем, на котором в режиме реального времени отображается замеряемая температура точки росы. Имеются также и кнопки управления, используемые при навигации по меню датчика.
Оба датчика очень просты в установке и обращении, работают по принципу "plug-and-play". Измерительный элемент уже установлен в находящейся внутри корпуса датчика измерительной камере, калибровочные значения введены в память электронного блока; для начала работы с датчиком, следует лишь подключить его кабель к сети электропитания и присоединить его 4-мм трубку подачи газа к быстроразъемному соединению.
|
| ZHM100 |
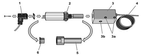
Датчик ZHM100, он же Easidew Transmitter (Cermet II) фирмы Michell Instruments, служит для измерения температуры точки росы сжатого воздуха или, иначе говоря, содержания в нем испаренной влаги.
Датчик представляет собой цилиндр из нержавеющей стали, внутри которого размещена пластина с нанесенным на нее тончайшим слоем полимерного полупроводникового материала на основе кремния (комплекс оксидов кремния и углеродных соединений). Пластина защищена фильтром из спеченной бронзы, препятствующим попаданию на пластину частиц пыли, компрессорного масла и пр.
Датчик снабжен резьбой, и присоединяется к выходу сжатого воздуха из осушителей сжатого воздуха ZANDER серий K-MT, KEN-MT, WVM и аналогичных Atlas Copco (арт. 1089948153 = 1089994815), Donaldson Ultrafilter (UDM-300, арт. 525216), Ingersoll Rand и Alup. Датчик снабжен 3-клеммным присоединением электропитания. На вход датчика подается постоянный ток напряжением 24В. На выходе, в зависимости от содержания влаги в попадающем на пластину сжатом воздухе, сила тока составляет от 4 до 20 мА (если датчик исправен).
Датчик не может использоваться самостоятельно, т.к.:
не снабжен устройством электропитания,
не снабжен перекодировщиком сигнала из аналоговой формы,
не снабжен устройством отображения информации (дисплеем или др.),
Датчик является запасной частью к осушителям сжатого воздуха ZANDER, работающим под управлением систем Multitronic, L1 и некоторых других.
|
| Схема подсоединения |
|
| ZDS200 |
Датчик температуры точки росы ZDS200 является стационарным и предназначен для настенного размещения.
ZDS200 имеет 2 свободных от напряжения «сухих» контакта с программируемым значением изменения статуса. Эти контакты можно использовать, например, для подключения внешних сигнальных устройств (ламп, зуммеров и т.д.), или для управления какими-либо устройствами.
Интересной особенностью ZDS200 является наличие у него порта USB и устанавливаемого на него съемного флэш-накопителя. Флэш-накопитель имеет емкость 32000 записей, частота записи показаний поддается регулировке. В комплекте с датчиком поставляется программное обеспечение для операционных систем MS Windows 98/2000/XP/Vista, для взаимодействия с накопителем: установки калибровочных значений, частоты фиксации показаний датчика, времени и даты, аварийных значений ТТР, перемещения данных из накопителя в файл на жестком диске ПК и последующего их просмотра в виде удобных масштабируемых графиков.
Также, в комплекте с ZDS200 поставляются: кабель для подключения к сети 230В˜50Гц и 2-метровый отрезок 4-миллимитеровой PTFE-трубки.
В случае, если имеется вероятность попадания в датчик компрессорного масла, пыли и других загрязнителей, следует подключать датчик через систему предварительной фильтрации, которую также можно заказать у нас.
|
| Измеритель ZDS200 и фрагмент интерфейса программного обеспечения |
|
| ZDP100 |
Измеритель ZDP100 является переносным. Конечно, это не значит, что его нельзя использовать и постоянно на одном месте - однако, в ZDP100 была учтена специфика работы с переносными датчиками, и он имеет несколько другую, по сравнению с ZDS200, схему взаимодействия с внешними устройствами.
ZDP100 не имеет внешних сигнальных контактов и флэш-накопителя. Вместо них, он оснащен выходом аналогового сигнала 4...20 мА, отражающего значение температуры точки росы. При желании, сигнал можно обрабатывать с помощью опционального устройства Easylog, которое позволяет как производить запись показаний (до 48000 значений), так и имеет свободные от напряжения контакты.
Другой особенностью ZDP100 является наличие регулятора подачи сжатого воздуха или азота в измерительную камеру. Регулятор может использоваться для быстрой продувки измерительной камеры с целью более быстрой актуализации показаний датчика.
В комплект поставки ZDP100 входят: кабель подключения к сети 230В˜50Гц и 2-метровый отрезок 4-миллимитеровой PTFE-трубки. Дополнительно, можно заказать: фиксатор показаний Easylog, конвертер EBW1 для подключения Easylog к ПК, программное обеспечение Gsoft, предварительный фильтр AA003G с быстроразъемным присоединением (для защиты ZDP100 от масла и пыли).
| Диапазон измерений температуры точки росы, °С: | -100...+20 | |
| Максимальное рабочее давление, бар (изб): | 16 (и до 350+ бар с использованием редуктора давления) | |
| Рабочая температура ZDS200 / ZDP100, °С: | -20...+50 / -20...+40 | |
| Допустимая погрешность измерений в диапазоне -59...+20 °С, °C: | ±1 | |
| Допустимая погрешность измерений в диапазоне -100...-60 °С, °C: | ±2 | |
| Разрешение в диапазоне -79...+20 °С, °C: | 0,1 | |
| Разрешение в диапазоне -100...-80 °С, °C: | 1 | |
| Напряжение электропитания (стандартно): | 230В±10%˜50Гц | |
| Потребляемая мощность, Вт: | 2 | |
| Класс электрозащиты: | IP54 | |
| Присоединение под сжатый воздух: | быстроразъемное 4 мм | |
| Масса, кг: | 2 |
